web analytics

Apple MacBook may be equipped with detachable camera and rotatable screen in the future

[ Tinydeal Technology News]Regarding Apple’s flagship notebook computer MacBook Pro, I believe many people still cannot adapt to the notch display, and Apple recently announced a new patent titled “Camera Integration of Portable Electronic Devices”. Demonstrating new ways to improve the MacBook Pro’s camera.

Apple MacBook Pro
Apple MacBook Pro

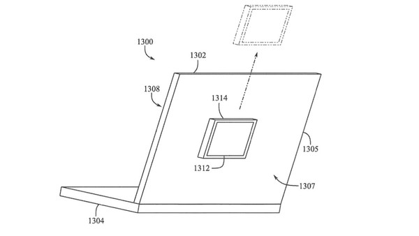
Apple’s new patent abandons the previous “keeping it slim” concept. Instead, it focuses on providing better camera modules. According to the patent, the new camera module will be no thicker than 3 mm. However, it will protrude from the MacBook Pro screen. The position and width of the camera are key. Patent drawings show the camera may be partially located in the screen groove. It could also be moved to the side of the screen or even to the back.

The patent describes an “optical assembly” attached to the Apple MacBook Pro camera case via magnets. This assembly is removably fixed to the case and display assembly. It allows communication between the camera modules. For example, one camera module could protrude from the front to face the user. Another could protrude from the back to take pictures.

Apple MacBook may be equipped with detachable camera and rotatable screen in the future

Apple's new patent
Apple’s new patent

This dual-camera system is similar to the simultaneous shooting function of the front and rear cameras of the iPhone 11 and can play a greater role on the MacBook. For example, one camera module films the interviewee, while the built-in FaceTime camera films the interviewer.

Apple's new patent
Apple’s new patent

Even more revolutionary is the rotating design of the display. The patent mentions that users can install the camera module on the back of a MacBook Pro and then rotate the entire display to take pictures or install it on the front to use the camera module’s LiDAR sensor.

Apple's new patent
Apple’s new patent

This new patent provides a new direction for future MacBook Pro camera improvements. Although these concepts are still in the patent stage, it demonstrate Apple’s relentless exploration on the road of innovation.

For more insights into Apple and other tech news, visit TinyDeals Blog.

Tinydeals
Logo
Compare items
  • Total (0)
Compare
0